| Description | Qty | Inst | Exp | Partnumber | AT | R | TI | |
| 1 | Brake disk left | 1 | 34 11 2 314 893 | 1 | ||||
| 1 | Brake disk right | 1 | 34 11 2 314 894 | 1 | ||||
| 2 | Mounting parts set F brake disk | 2 | 34 11 2 330 314 | |||||
| 3 | Caliper left D=32/34 | 1 | 34 11 2 314 737 | E | 1 | |||
| 3 | Caliper right D=32/34 | 1 | 34 11 2 314 738 | E | 1 | |||
| 3 | Caliper left D=32/34 | 1 | 34 11 2 331 629 | AE | 1 | |||
| 3 | Caliper left D=32/34 | 1 | 34 11 2 331 815 | 1 | ||||
| 3 | Caliper right D=32/34 | 1 | 34 11 2 331 630 | AE | 1 | |||
| 3 | Caliper right D=32/34 | 1 | 34 11 2 331 816 | 1 | ||||
| 4 | Bleeder screw | 2 | 34 21 2 330 310 | |||||
| 5 | Kit dust cap Brembo | 2 | 34 21 1 236 794 | |||||
| 6 | Fillister head M10x25 | 4 | 07 11 9 920 150 | |||||
| 7 | Repair kit brake lining | 2 | 34 11 2 314 996 | 1 | ||||
| 8 | Set mounting parts | 2 | 34 21 2 330 418 | |||||
| 9 | Only for repair at the dealer's Repair set brake caliper |
2 | 34 11 2 310 982 | A | ||||
| 9 | Repair set brake caliper | 2 | 34 11 2 331 631 | T | ||||
| 10 | Lubricant, silicon-fett | 2 | 34 11 2 310 526 |
| Description | Qty | Inst | Exp | Partnumber | TI | |
| 1 | Brake hose | 1 | 34 32 2 314 552 | |||
| 2 | Hollow bolt | 6 | 34 32 1 242 205 | |||
| 3 | Sealing washer A10x13,5-CU | X | 07 11 9 963 072 | |||
| 4 | Brake hose | 2 | 34 32 2 314 553 | |||
| 5 | Distribution piece | 1 | 34 32 2 314 898 | |||
| 6 | Fillister head M6x25 | 1 | 11 14 1 460 678 | |||
| 7 | Hose clamp | 1 | 13 31 1 707 705 | |||
| 8 | Edge protection 110mm | 1 | 34 32 2 331 053 | T | ||
| 9 | Bracket front | 1 | 34 32 2 325 202 | |||
| 10 | Fillister head with washer M6x12 | 1 | 46 63 2 332 460 | |||
| 11 | Cable holder D=16,7mm | 2 | 61 13 1 369 668 | |||
| 12 | Brake fluid 250ml | X | 81 22 9 407 510 | |||
| 12 | Brake fluid 500ml | X | 81 22 9 407 511 | |||
| 12 | Brake fluid 1000ml | X | 81 22 9 407 512 | |||
| 12 | Brake fluid 5000ml | X | 81 22 9 407 513 |
| Description | Qty | Inst | Exp | Partnumber | AT | R | |
| 1 | Rear brake disk | 1 | 34 21 2 314 151 | 1 | |||
| 2 | Bolt | 5 | 34 21 2 314 558 | ||||
| 3 | Rear brake caliper D=26/28 | 1 | 34 21 2 314 534 | E | 1 | ||
| 4 | Fillister head M10x25 | 2 | 07 11 9 920 150 | ||||
| 5 | Flat washer A10,5 | 2 | 07 11 9 931 020 | ||||
| 6 | Repair kit brake lining | 1 | 34 21 2 330 633 | AE | 1 | ||
| 6 | Repair kit brake lining | 1 | 34 21 2 335 465 | 1 | |||
| 7 | Set mounting parts | 1 | 34 21 2 330 313 | ||||
| 8 | Only for repair at dealer's Repair set brake caliper 26/28 |
1 | 34 21 2 330 311 | ||||
| 9 | Repair kit | 1 | 34 21 2 330 312 | ||||
| 10 | Bleeder screw | 1 | 34 21 2 314 017 | ||||
| 11 | Kit dust cap Brembo | 1 | 34 21 1 236 794 |
| Description | Qty | Inst | Exp | Partnumber | R | TI | |
| 1 | Brake master cylinder D=13 | 1 | 34 31 2 314 726 | 1 | |||
| 2 | Fillister head M6x25 | 2 | 07 11 9 919 625 | ||||
| 3 | Wave washer B6 | 2 | 07 11 9 932 099 | ||||
| 4 | Self-locking hex nut M6 | 2 | 07 12 9 900 191 | ||||
| 5 | Brake pipe | 1 | 34 32 2 314 774 | ||||
| 6 | Brake hose | 1 | 34 32 2 314 555 | ||||
| 7 | Grommet | 1 | 34 32 1 236 462 | ||||
| 8 | Hollow bolt | 1 | 34 32 1 242 205 | ||||
| 9 | Sealing washer A10x13,5-CU | 2 | 07 11 9 963 072 | ||||
| 10 | Hose clamp | 1 | 34 32 2 312 894 | T | |||
| 11 | Stop nut M6 | 1 | 51 21 1 803 363 | ||||
| 12 | Fillister head M6x25 | 1 | 07 11 9 919 625 |
| Description | Qty | Inst | Exp | Partnumber | R | |
| 1 | Fluid container rear | 1 | 34 31 2 314 082 | 1 | ||
| 2 | Cover | 1 | 34 31 2 314 091 | |||
| 3 | Rubber cover | 1 | 34 31 2 314 092 | |||
| 4 | Bracket | 1 | 46 51 2 314 312 | |||
| 5 | Rivet 3,2-2A | 2 | 07 12 9 948 747 | |||
| 6 | Hose | 1 | 34 32 2 457 880 | |||
| 7 | Hose clamp 12,3mm | 2 | 17 11 1 460 922 | |||
| 8 | Brake fluid 250ml | X | 81 22 9 407 510 | |||
| 8 | Brake fluid 500ml | X | 81 22 9 407 511 | |||
| 8 | Brake fluid 1000ml | X | 81 22 9 407 512 | |||
| 8 | Brake fluid 5000ml | X | 81 22 9 407 513 | |||
| 9 | Hose clamp | 1 | 11 42 1 338 637 |
| Description | Qty | Inst | Exp | Partnumber | AT | |
| 1 | Brake lever | 1 | 8/97 | 35 21 2 314 141 | A | |
| 1 | Brake lever | 1 | 8/97 | 35 21 2 325 709 | ||
| 2 | Bush | 1 | 35 21 1 450 231 | |||
| 3 | Bush bearing | 1 | 35 21 1 450 230 | |||
| 4 | Fillister head M10x45 | 1 | 07 11 9 900 009 | |||
| 5 | Self-locking hex nut M10 | 1 | 07 12 9 964 676 | |||
| 6 | Retainer spring | 1 | 35 21 2 311 670 | |||
| 7 | Flat washer | 1 | 35 21 2 311 672 | |||
| 8 | Flat washer 5,3 | 1 | 07 11 9 936 439 | |||
| 9 | Fillister head M5x8 | 1 | 12 31 2 322 411 | |||
| 10 | Hex bolt | 1 | 35 21 1 231 067 | |||
| 11 | Hex nut M6 | 1 | 23 13 2 322 367 |
| Description | Qty | Inst | Exp | Partnumber | AT | R | |
| 1 | Cable strap 200mm | 4 | 61 13 1 367 599 | ||||
| 2 | Pulse generator | 1 | 34 52 2 306 315 | AE | 1 | ||
| 2 | Pulse generator | 1 | 34 52 2 331 286 | 1 | |||
| 3 | Fillister head M5x14 | 1 | 34 51 1 458 494 | ||||
| 4 | Spacer ring 0,05 | 1 | 34 51 2 314 852 | ||||
| 4 | Spacer ring 0,10 | 1 | 34 51 2 314 853 | ||||
| 4 | Spacer ring 0,20 | 1 | 34 51 2 314 854 | ||||
| 4 | Spacer ring 0,30 | 1 | 34 51 2 314 855 | ||||
| 4 | Spacer ring 0,40 | 1 | 34 51 2 314 856 | ||||
| 4 | Spacer ring 0,50 | 1 | 34 51 2 314 857 | ||||
| 4 | Spacer ring 1,00 | 1 | 34 51 2 314 858 | ||||
| 5 | Bracket | 1 | 34 51 2 311 021 | ||||
| 6 | Rubber grommet | 1 | 34 52 2 305 087 | ||||
| 7 | Label ABS | 1 | 71 21 2 314 920 | ||||
| 8 | Countersunk head screw | 5 | 34 51 2 314 936 | ||||
| 9 | Ring | 1 | 34 51 2 314 169 | 1 |
| Description | Qty | Inst | Exp | Partnumber | AT | R | |
| 1 | Ring | 1 | 34 51 2 314 784 | ||||
| 2 | Fillister head screw | 5 | 34 51 2 310 041 | ||||
| 3 | Spacer ring 0,1 | 1 | 34 51 1 458 406 | ||||
| 3 | Spacer ring 0,2 | 1 | 34 51 1 458 407 | ||||
| 3 | Spacer ring 0,3 | 1 | 34 51 1 458 408 | ||||
| 3 | Spacer ring 0,4 | 1 | 34 51 2 310 338 | ||||
| 3 | Spacer ring 0,5 | 1 | 34 51 1 458 409 | ||||
| 3 | Spacer ring 1,0mm | 1 | 34 51 2 310 339 | ||||
| 3 | Spacer ring 0,05 | 1 | 34 51 2 310 340 | ||||
| 4 | Pulse generator | 1 | 34 52 2 306 316 | AE | 1 | ||
| 4 | Pulse generator | 1 | 34 52 2 331 289 | 1 | |||
| 5 | Fillister head M5x14 | 2 | 34 51 1 458 494 | ||||
| 6 | Cable strap 200mm | X | 61 13 1 367 599 | ||||
| 7 | Clamp | 2 | 61 31 1 459 057 | ||||
| 8 | Label, ABS | 1 | 71 21 2 314 920 | ||||
| 8 | Label, ABS | 1 | 71 21 2 332 732 |
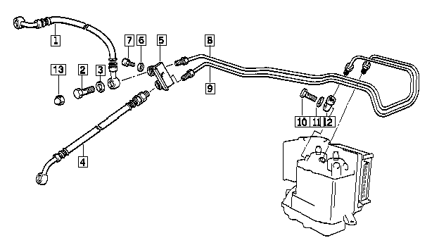
| Description | Qty | Inst | Exp | Partnumber | |
| 1 | Brake hose | 1 | 34 32 2 314 572 | ||
| 2 | Hollow bolt | 1 | 34 32 1 242 205 | ||
| 3 | Sealing washer A10x13,5-CU | 2 | 07 11 9 963 072 | ||
| 4 | Brake hose | 1 | 34 32 2 314 744 | ||
| 5 | Distribution piece ABS | 1 | 34 32 2 314 412 | ||
| 6 | Flat washer 6,4 | 1 | 07 11 9 931 018 | ||
| 7 | Fillister head M6x12 | 1 | 07 11 9 920 148 | ||
| 8 | Brake pipe | 1 | 34 32 2 314 809 | ||
| 9 | Brake pipe | 1 | 34 32 2 314 811 | ||
| 10 | Gasket ring A10x16-CU | 1 | 07 11 9 963 106 | ||
| 10 | Hollow bolt | 1 | 34 32 2 314 697 | ||
| 11 | Gasket ring A12x16 | 1 | 07 11 9 963 132 | ||
| 12 | Connector | 1 | 34 32 2 314 694 | ||
| 13 | Protection cap SW14 | 1 | 34 32 2 330 575 |
| Description | Qty | Inst | Exp | Partnumber | |
| 1 | Brake pipe rear ABS | 1 | 34 32 2 314 813 | ||
| 2 | Brake pipe rear ABS | 1 | 34 32 2 314 815 | ||
| 3 | CSK fillister head screw M4x22 | 1 | 07 11 9 901 465 | ||
| 4 | Bracket | 1 | 34 32 2 314 637 | ||
| 9 | Spiral conduit 1010mm | 1 | 34 32 2 311 585 |
| Description | Qty | Inst | Exp | Partnumber | R | TI | |
| Only for repair at the dealer's | |||||||
| 1 | Hydro unit only in conjunction with item 2 |
1 | 34 51 2 331 935 | ||||
| 2 | Fillister head M6x14 | 2 | 34 51 2 335 332 | ||||
| 2 | Fillister head with washer M6x12 | 2 | 46 63 2 332 460 | ||||
| 3 | Self-tapping screw | 1 | 34 51 2 306 436 | ||||
| 4 | Flat washer A6,4 | 1 | 07 11 9 931 044 | ||||
| 4 | Wave washer B6 | 1 | 07 11 9 932 072 | ||||
| 5 | ABS motor relay only in conjunction with |
1 | 61 36 2 306 526 | 1 | T | ||
| -- | cover | 1 | 34 51 2 306 317 | T | |||
| 6 | Relay base only in conjunction with |
1 | 61 13 2 306 371 | 1 | |||
| -- | cover | 1 | 34 51 2 306 317 | ||||
| 7 | Hex nut M4 | 1 | 07 11 9 922 821 | ||||
| 7 | Hex nut M5 | 1 | 07 11 9 922 823 | ||||
| 8 | Tooth washer A4,3 | 1 | 07 11 9 936 037 | ||||
| 8 | Tooth washer A5,1 | 1 | 07 11 9 936 107 | ||||
| 9 | Cover | 1 | 34 51 2 306 317 | ||||
| 10 | Protection cap | 2 | 21 52 1 154 976 |