| Description | Qty | Inst | Exp | Partnumber | R | TI | |
| 1 | Rear frame, black | 1 | 46 51 2 320 701 | 1 | T | ||
| 2 | Bracket | 2 | 46 51 2 314 464 | ||||
| 3 | Hex bolt | 4 | 07 11 9 913 456 | ||||
| 4 | Hex nut M6 | 4 | 23 11 2 322 368 | ||||
| 5 | Flat washer 6,4 | 8 | 07 11 9 931 018 | ||||
| 6 | Foil | 3 | 46 54 2 315 901 | ||||
| 7 | Fillister head, M10x40 | 4 | 07 11 9 901 082 |
| Description | Qty | Inst | Exp | Partnumber | ||
| 1 | Front frame black | 1 | 46 51 2 314 698 | 1 |
| Description | Qty | Inst | Exp | Partnumber | AT | R | TI | |
| 1 | Center stand | 1 | 46 52 2 314 336 | 1 | ||||
| 2 | Spacer left 2,5 | 1 | 46 52 2 330 367 | |||||
| 2 | Spacer right 4,5 | 1 | 46 52 2 330 368 | |||||
| 3 | Bracket left | 1 | 46 52 2 312 497 | E | 1 | |||
| 3 | Bracket left | 1 | 46 52 2 325 381 | |||||
| 3 | Bracket left only in conjunction with |
1 | 46 52 2 325 344 | E | T | |||
| -- | Distance rubber | 1 | 46 52 2 325 354 | T | ||||
| 4 | Bracket right | 1 | 46 52 2 314 564 | |||||
| 5 | Fillister head M12x30 | 2 | 07 11 9 920 032 | |||||
| 6 | Flat washer 13 | 2 | 07 11 9 931 699 | |||||
| 7 | Countersunk head screw M8x25 | 1 | 07 11 9 900 138 | |||||
| 8 | Stud M8x105 | 1 | 07 11 9 910 283 | |||||
| 9 | O-ring | 6 | 07 11 9 900 500 | |||||
| 10 | Guide pin | 2 | 46 52 2 314 427 | |||||
| 11 | Bush bearing | 1 | 46 53 2 314 052 | |||||
| 12 | Flat washer A10,5 | 1 | 07 11 9 931 020 | |||||
| 13 | Fillister head M10x30 | 1 | 07 11 9 901 059 | |||||
| 14 | Side stand | 1 | 46 53 2 314 787 | A | 1 | |||
| 14 | Side stand | 1 | 46 53 2 335 555 | |||||
| 15 | Tension spring | 4 | 46 52 2 314 780 | |||||
| 16 | Rubber grommet | 4 | 46 52 2 314 177 | |||||
| 17 | Support | 1 | 52 53 1 232 904 | |||||
| 18 | Covering cap | 2 | 01/96 | 33 12 1 454 019 | ||||
| 19 | Fillister head screw M8x16 | 2 | 01/96 | 46 52 2 325 159 |
| Description | Qty | Inst | Exp | Partnumber | AT | R | |
| 1 | Roof carrier | 1 | 46 54 2 309 514 | 1 | |||
| 1 | Roof carrier | 1 | 46 54 2 313 259 | E | 1 | ||
| 2 | Flat washer | 1 | 07 11 9 931 823 | ||||
| 3 | Bolt M6x20 | 2 | 11 13 1 460 677 | ||||
| 4 | Flat washer 6,4 | 2 | 07 11 9 931 018 | ||||
| 5 | Fillister head M6x16 | 2 | 07 11 9 901 438 | ||||
| 6 | Flat washer 6,4 | 2 | 07 11 9 931 696 | ||||
| 7 | Fillister head M6x75 | 2 | 07 11 9 919 966 | ||||
| 8 | Handle | 1 | 46 54 2 313 559 |
| Description | Qty | Inst | Exp | Partnumber | |
| 1 | Upper mudguard, primed | 1 | 46 61 2 313 365 | ||
| 2 | Fillister head | 2 | 46 61 2 313 527 | ||
| 3 | Flat washer 6,4 | 4 | 07 11 9 900 537 | ||
| 3 | Flat washer | 4 | 46 63 2 313 526 | ||
| 4 | Fillister head | 2 | 32 71 2 308 643 |
| Description | Qty | Inst | Exp | Partnumber | |
| 1 | Lower mudguard | 1 | 07/94 | 46 61 2 313 249 | |
| 1 | Extended lower mudguard | 1 | 08/94 | 46 61 2 324 395 | |
| 2 | Hex bolt M6x12 | 1 | 07 11 9 913 014 | ||
| 3 | Flat washer 6,4 | 1 | 07 11 9 900 537 | ||
| 4 | Self-locking hex nut M6 | 2 | 07 12 9 900 191 | ||
| 5 | Flat washer 6,4 | 2 | 07 11 9 931 018 | ||
| 6 | Flat washer 6,4 | 2 | 07 11 9 931 696 | ||
| 7 | Fillister head M6x18 | 2 | 46 54 2 322 498 |
| Description | Qty | Inst | Exp | Partnumber | |
| 1 | Mudguard, rear | 1 | 46 62 2 313 253 | ||
| 2 | Flat washer 5,3 | 1 | 07 11 9 931 029 | ||
| 3 | Fillister head M5x16 | 1 | 07 11 9 900 311 | ||
| 4 | Flat washer 6,4 | 2 | 07 11 9 931 018 | ||
| 5 | Fillister head M6x16 | 2 | 07 11 9 901 438 |
| Description | Qty | Inst | Exp | Partnumber | |
| 1 | Fillister head M6x25 | 1 | 07 11 9 919 625 | ||
| 2 | Flat washer | 1 | 46 63 1 451 276 | ||
| 3 | Grommet | 3 | 46 63 1 451 277 | ||
| 4 | Bush | 3 | 46 63 1 451 275 | ||
| 5 | Plate mounting | 1 | 46 62 2 313 565 | ||
| 6 | Bracket | 1 | 46 62 2 313 252 | ||
| 7 | Flat washer 6,4 | 2 | 07 11 9 931 696 | ||
| 8 | Nut holder | 2 | 46 63 1 455 425 |
| Description | Qty | Inst | Exp | Partnumber | AT | |
| 1 | Fairing bracket | 1 | 46 63 2 313 315 | E | ||
| 2 | Fillister head M8x35 | 1 | 07 11 9 901 027 | |||
| 3 | Flat washer | 3 | 13 51 2 243 795 | |||
| 4 | Fillister head | 2 | 46 63 2 313 246 |
| Description | Qty | Inst | Exp | Partnumber | ||
| 1 | Support left | 1 | 09/95 | 16 11 2 313 603 | ||
| 1 | Support right | 1 | 09/95 | 16 11 2 313 604 | ||
| 1 | Support left +5mm | 1 | 09/95 | 16 11 2 324 979 | ||
| 1 | Support left +5mm | 1 | 09/95 | 16 11 2 324 980 | ||
| 1 | Support F left, steel tank | 1 | 10/95 | 46 63 2 324 873 | ||
| 1 | Support F right, steel tank | 1 | 10/95 | 46 63 2 324 874 | ||
| 2 | Expanding nut | 4 | 46 63 1 453 058 | |||
| 3 | Sheet metal screw 3,6x13-Z2 | 4 | 07 11 9 900 474 | |||
| 4 | Edge protection 110mm | 1 | 34 32 2 331 053 | T |
| Description | Qty | Inst | Exp | Partnumber | AT | |
| 1 | Covering, right | 1 | 10/95 | 46 63 2 313 324 | AE | |
| 1 | Covering, right | 1 | 10/95 | 46 63 2 320 708 | ||
| 2 | Grommet | 3 | 46 63 1 451 277 | |||
| 3 | Base | 1 | 46 63 1 451 278 |
| Description | Qty | Inst | Exp | Partnumber | ||
| 1 | Cover, silver | 1 | 46 63 2 324 244 | |||
| 2 | Front supporting part, weissalu | 1 | 46 63 2 313 543 | |||
| 3 | Flat washer 6,4 | 3 | 07 11 9 931 087 | |||
| 4 | Fillister head | 3 | 32 71 2 308 643 |
| Description | Qty | Inst | Exp | Partnumber | R | |
| 1 | Brown windshield | 1 | 46 63 2 313 258 | 1 | ||
| 2 | Bracket, left | 1 | 46 63 2 313 601 | |||
| 2 | Bracket, right | 1 | 46 63 2 313 602 | |||
| 3 | Oval head screw with washer | 4 | 46 63 2 313 569 | |||
| 4 | Flat washer | 2 | 46 63 2 313 611 | |||
| 5 | Oval head screw with washer | 2 | 46 63 2 313 615 | |||
| 6 | Clamping | 2 | 46 63 2 313 607 | |||
| 7 | Fillister head screw | 2 | 46 63 2 313 610 | |||
| 8 | Flat washer, 6,4 | 2 | 07 11 9 936 408 | |||
| 9 | Spacer bushing | 2 | 16 11 1 450 706 |
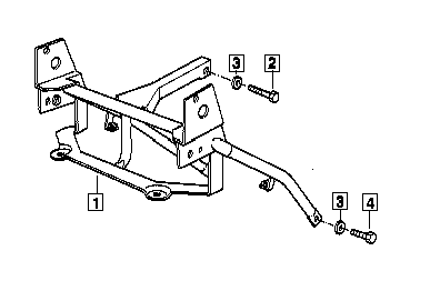
| Description | Qty | Inst | Exp | Partnumber | |
| 1 | Rod left | 1 | 46 51 2 314 271 | ||
| 2 | Rod right | 1 | 46 51 2 314 322 | ||
| 3 | Pin L=241mm | 1 | 46 51 2 314 568 | ||
| 4 | Hex bolt M10x125 | 1 | 07 11 9 900 556 | ||
| 5 | Flat washer A10,5 | 4 | 07 11 9 931 020 | ||
| 6 | Self-locking hex nut M10 | 1 | 07 12 9 900 580 | ||
| 7 | Hex nut M10 | 2 | 07 11 9 900 410 | ||
| 8 | Pin 10.9 | 1 | 46 51 2 314 567 | ||
| 9 | Hex nut with plate | 2 | 46 51 2 314 060 | ||
| 10 | Flat washer 10,5 | 4 | 07 11 9 931 698 | ||
| 11 | Fillister head M10x25 | 4 | 10/95 | 07 11 9 920 150 | |
| 11 | Fillister head M10x40 | 4 | 10/95 | 07 11 9 901 082 |
| Description | Qty | Inst | Exp | Partnumber | R | |
| 1 | Footpeg plate left | 1 | 46 71 2 314 245 | |||
| 1 | Footpeg plate right | 1 | 46 71 2 314 246 | 1 | ||
| only applies to footpeg | ||||||
| 2 | Fillister head M8x35 | 2 | 07 11 9 901 027 | |||
| 3 | Fillister head M8x55 | 1 | 07 11 9 901 035 | |||
| 4 | Fillister head M8x25 | 3 | 07 11 9 901 024 | |||
| 5 | Flat washer 8,4 | 6 | 07 11 9 931 697 | |||
| 6 | Buffer stop | 1 | 46 71 2 314 721 | |||
| 7 | Left footrest | 1 | 46 71 1 242 017 | |||
| 7 | Right footrest | 1 | 46 71 1 242 018 | |||
| 8 | Spacer tube | 2 | 46 71 1 242 019 | |||
| 9 | Spring | 2 | 46 71 1 242 020 | |||
| 10 | Bushing | 2 | 46 71 1 242 109 | |||
| 11 | Pin | 2 | 07 11 9 900 585 | |||
| 12 | Split pin 2x16 | 2 | 07 11 9 945 076 |
| Description | Qty | Inst | Exp | Partnumber | R | |
| 1 | Footpeg plate left, black | 1 | 46 71 2 314 761 | 1 | ||
| 1 | Footpeg plate right, black | 1 | 46 71 2 314 762 | 1 | ||
| 2 | Fillister head M8x16 | 2 | 07 11 9 900 187 | |||
| 3 | Flat washer 8,4 | 2 | 07 11 9 931 697 | |||
| 4 | Cap | 2 | 46 54 2 316 012 | |||
| 5 | Fillister head screw M4x10 | 4 | 07 11 9 907 592 | |||
| 6 | Pin | 2 | 07 11 9 900 584 | |||
| 7 | Flat washer 8,4 | 2 | 07 11 9 931 697 | |||
| 8 | Split pin 2x16 | 2 | 07 11 9 945 076 | |||
| 9 | Left footrest | 1 | 46 71 2 310 403 | |||
| 9 | Right footrest | 1 | 46 71 2 310 404 | |||
| 10 | Spacer left | 1 | 46 71 2 310 871 | |||
| 10 | Spacer right | 1 | 46 71 2 310 872 | |||
| 11 | Bushing | 2 | 46 71 2 310 401 |
| Description | Qty | Inst | Exp | Partnumber | ||
| 1 | Engine protection bar set only in conjunction with |
1 | 46 71 2 319 520 | |||
| -- | Gasket, loctite 638 | 1 | 07 58 9 056 030 | |||
| 2 | Left engine protection bar | 1 | 46 71 2 319 521 | |||
| 2 | Right engine protection bar | 1 | 46 71 2 319 522 | |||
| 3 | Crossover | 1 | 46 71 2 317 047 | |||
| 4 | Rubber mounting | 4 | 46 71 2 317 048 | |||
| 5 | Flat washer 6,4 | 4 | 07 11 9 931 018 | |||
| 6 | Self-locking hex nut, M6 | 4 | 07 12 9 900 191 | |||
| 7 | Hex bolt, M8x20 | 2 | 07 11 9 901 120 | |||
| 8 | Flat washer A8,4 | 4 | 07 11 9 931 019 | |||
| 9 | Self-locking hex nut M8 | 2 | 07 12 9 964 675 | |||
| 10 | Flat washer | 2 | 13 51 2 243 795 | |||
| 11 | Fillister head M8x30 | 2 | 07 11 9 901 025 | |||
| 12 | Gasket, loctite 638 | 1 | 07 58 9 056 030 |
| Description | Qty | Inst | Exp | Partnumber | R | ||
| 1 | Engine protection bar set F plastic tank only in conjunction with |
1 | 46 71 2 317 043 | E | 1 | ||
| -- | Gasket, loctite 638 | 1 | 07 58 9 056 030 | ||||
| 2 | Right engine protection bar | 1 | 46 71 2 317 046 | 1 | |||
| 2 | Left engine protection bar | 1 | 46 71 2 317 045 | 1 | |||
| 3 | Crossover | 1 | 46 71 2 317 047 | ||||
| 4 | Rubber mounting | 4 | 46 71 2 317 048 | ||||
| 5 | Flat washer 6,4 | 4 | 07 11 9 931 018 | ||||
| 6 | Self-locking hex nut, M6 | 4 | 07 12 9 900 191 | ||||
| 7 | Hex bolt, M8x20 | 2 | 07 11 9 901 120 | ||||
| 8 | Flat washer A8,4 | 4 | 07 11 9 931 019 | ||||
| 9 | Self-locking hex nut M8 | 2 | 07 12 9 964 675 | ||||
| 10 | Flat washer | 2 | 13 51 2 243 795 | ||||
| 11 | Fillister head M8x30 | 2 | 07 11 9 901 025 | ||||
| 12 | Gasket, loctite 638 | 1 | 07 58 9 056 030 |
| Description | Qty | Inst | Exp | Partnumber | ||
| 1 | Installation kit F plastic safety bar | 1 | 46 71 2 316 487 | 1 | ||
| 2 | Safety bar | 1 | 46 71 2 316 485 | 1 | ||
| 2 | Safety bar | 1 | 46 71 2 316 486 | 1 | ||
| 3 | Fillister head, M6x16 | 2 | 07 11 9 901 438 | |||
| 3 | Fillister head, M6x25 | 4 | 07 11 9 919 625 | |||
| 4 | Wave washer B6 | 6 | 07 11 9 932 099 | |||
| 5 | Flat washer 6,4 | 6 | 07 11 9 931 696 |