| Description | Qty | Inst | Exp | Partnumber | AT | R | TI | |
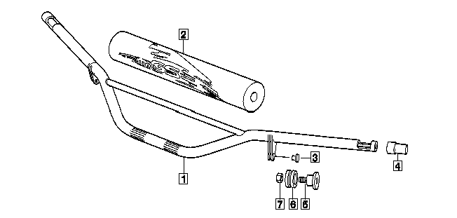
| 1 | High handlebar F heater handle | 1 | 32 71 2 313 335 | AE | 1 | |||
| 1 | High handlebar F heater handle | 1 | 32 71 2 331 876 | 1 | ||||
| 2 | Impact protection | 1 | 71 60 2 337 062 | |||||
| 3 | Covering cap | 2 | 02/96 | 32 71 2 313 893 | ||||
| 4 | Handle tube cover | 1 | 32 71 2 330 134 | |||||
| 5 | Bolt | 2 | 32 71 2 331 839 | |||||
| 6 | Rubber grommet | 2 | 32 71 2 331 838 | |||||
| 7 | Hex nut | 2 | 07 11 9 915 707 | |||||
| Description | Qty | Inst | Exp | Partnumber | |
| 1 | Clamping support | 2 | 31 42 1 458 055 | ||
| 2 | Fillister head M8x35 | 4 | 31 42 2 312 034 | ||
| 3 | Balance weight, black | 2 | 32 71 2 313 766 | ||
| 4 | Countersunk head screw 8x25 | 2 | 32 71 2 307 608 | ||
| 4 | Countersunk head screw 8x30 | 2 | 32 71 2 313 907 |
| Description | Qty | Inst | Exp | Partnumber | R | |
| 1 | Handle unit left | 1 | 32 72 1 457 069 | 1 | ||
| 2 | Left grooved handle | 1 | 32 72 1 458 395 | |||
| 3 | Foam rubber handle left | 1 | 32 72 2 311 539 |
| Description | Qty | Inst | Exp | Partnumber | R | |
| 1 | Housing left | 1 | 32 72 1 457 963 | |||
| 2 | Hand lever left, black | 1 | 32 72 1 451 700 | |||
| 3 | Bush | 1 | 32 72 1 451 796 | |||
| 4 | Radio switch | 1 | 61 31 1 459 569 | 1 | ||
| 5 | Lever | 1 | 32 72 1 240 792 | 1 | ||
| 6 | Flat washer | 1 | 32 72 1 240 791 | |||
| 7 | Saucer-head screw M6x12 | 1 | 07 11 9 907 430 | |||
| 8 | Cap | 1 | 32 72 1 451 975 | |||
| 9 | Bolt | 1 | 32 72 1 451 749 | |||
| 10 | Wave washer | 1 | 32 72 1 230 871 | |||
| 11 | Nut M5x16 | 1 | 32 72 1 238 382 | |||
| 12 | Fillister head | 1 | 61 31 2 322 412 |
| Description | Qty | Inst | Exp | Partnumber | R | TI | |
| 1 | Handle unit right D=20 see service information |
1 | 32 72 2 314 071 | 1 | T | ||
| 2 | Handle tube, right grooved handle | 1 | 32 72 2 310 823 | ||||
| 3 | Handle tube, right foam rubber handle | 1 | 32 72 2 311 576 | ||||
| 4 | Right grooved handle | 1 | 32 72 1 458 396 | ||||
| 5 | Right foam rubber handle | 1 | 32 72 2 311 540 | ||||
| 6 | Countersunk head screw M4x10 | 1 | 32 72 2 310 772 | ||||
| 7 | Countersunk head screw M5x35 | 1 | 32 72 2 310 771 |
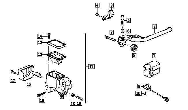
| Description | Qty | Inst | Exp | Partnumber | R | |
| 1 | Housing | 1 | 32 72 2 310 750 | |||
| 2 | Adjustable right hand lever, black | 1 | 32 72 2 314 072 | |||
| 3 | Cover | 1 | 32 72 2 310 752 | 1 | ||
| 4 | Bolt | 1 | 32 72 2 311 146 | |||
| 5 | Bolt | 1 | 32 72 2 310 753 | |||
| 6 | Bush | 1 | 32 72 2 310 754 | |||
| 7 | Bolt | 1 | 32 72 2 310 755 | |||
| 8 | Rubber boot | 1 | 32 72 2 310 756 | |||
| 9 | Front stop light switch | 1 | 61 31 1 459 870 | 1 | ||
| 10 | Bolt | 1 | 32 72 2 311 144 | |||
| 11 | Cylinder with piston D=20 | 1 | 32 72 2 311 140 | 1 | ||
| 12 | Rubber boot | 1 | 32 72 2 312 421 | |||
| 13 | Cover | 1 | 32 72 2 312 422 | |||
| 14 | Fillister head screw | 4 | 32 72 2 311 143 | |||
| 15 | Bolt | 1 | 32 72 2 311 147 | |||
| 16 | Cover | 1 | 32 72 2 310 757 | |||
| 17 | Bolt | 1 | 32 72 2 311 145 | |||
| 18 | Nut | 1 | 32 72 2 311 141 | |||
| 19 | Countersunk head screw M6x20 | 1 | 32 72 2 311 502 |
| Description | Qty | Inst | Exp | Partnumber | TI | |
| 1 | Set handle | 1 | 32 72 2 311 005 | T | ||
| 2 | Foam rubber handle left | 1 | 32 72 2 311 539 | |||
| 3 | Foam rubber handle right only in conjunction with |
1 | 32 72 2 311 540 | |||
| -- | Adhesive 3GR | 1 | 32 72 2 310 234 | |||
| 6 | Adhesive 3GR | 1 | 32 72 2 310 234 |
| Description | Qty | Inst | Exp | Partnumber | AT | R | TI | |
| 1 | Installing set heated handle | 1 | 8/96 | 71 60 2 316 729 | 1 | |||
| 2 | High handlebar F heater handle | 1 | 32 71 2 313 335 | AE | 1 | |||
| 2 | High handlebar F heater handle | 1 | 32 71 2 331 876 | 1 | ||||
| 3 | Heated handle left | 1 | 61 31 2 315 221 | 1 | T | |||
| 3 | Heated handle right | 1 | 61 31 2 315 222 | 1 | T | |||
| 4 | Switch handle heated | 1 | 61 31 1 459 982 | 1 | ||||
| 5 | Fuse A4 | 2 | 61 13 8 364 594 | |||||
| 6 | Plug connection female | 1 | 61 13 1 361 706 |
| Description | Qty | Inst | Exp | Partnumber | AT | R | |
| 1 | Accelerator cable | 1 | 7/96 | 32 73 1 342 150 | 1 | ||
| 2 | Choke cable | 1 | 7/96 | 32 73 2 331 055 | |||
| 3 | Clutch cable | 1 | 32 73 2 314 760 | AE | 1 | ||
| 3 | Clutch cable | 1 | 32 73 2 324 961 | ||||
| 4 | Collar | 1 | 35 41 1 117 638 | ||||
| 5 | Collar | 1 | 32 73 1 230 038 | ||||
| 6 | Nipple holder D=10mm | 1 | 32 72 1 233 550 | ||||
| 7 | Feltring | 1 | 32 72 1 231 610 | ||||
| 8 | Cable adjuster | 1 | 32 72 1 234 854 | ||||
| 9 | Knurled head nut | 1 | 32 72 1 232 516 | ||||
| 10 | Hose clamp | 3 | 13 31 1 707 705 | ||||
| 11 | Hose clamp D=13mm/6mm | 1 | 11 78 1 716 118 |
| Description | Qty | Inst | Exp | Partnumber | AT | R | |
| 1 | Cable distributor | 1 | 7/96 | 13 54 1 342 257 | AE | ||
| 1 | Cable distributor | 1 | 7/96 | 13 54 2 325 629 | |||
| 2 | Choke cable | 1 | 7/96 | 32 73 1 342 254 | 1 | ||
| 3 | Accelerator bowden cable | 1 | 7/96 | 32 73 1 342 253 | 1 | ||
| 4 | Accelerator bowden cable left | 1 | 7/96 | 32 73 1 342 255 | 1 | ||
| 4 | Accelerator bowden cable right | 1 | 7/96 | 32 73 1 342 256 | 1 |
| Description | Qty | Inst | Exp | Partnumber | R | |
| 1 | Set hand protector | 1 | 71 60 2 340 208 | 1 | ||
| 2 | Hand protector left, black | 1 | 71 60 2 340 209 | |||
| 3 | Adapter left, black | 1 | 71 60 2 340 213 | |||
| 4 | Sheet metal screw ST4,2x19 | 2 | 46 63 2 309 201 | |||
| 5 | Hand protector right, black | 1 | 71 60 2 340 212 | |||
| 6 | Adapter right, black | 1 | 71 60 2 340 214 | |||
| 7 | Fillister head M8x40 | 1 | 71 60 2 317 406 | |||
| 8 | Bush right | 1 | 71 60 2 317 405 | |||
| 9 | Fillister head screw M5x20 | 1 | 07 11 9 906 853 | |||
| 10 | Flat washer 5,3 | 1 | 07 11 9 931 029 | |||
| 11 | Sheet metal screw ST 4,2x13 | 2 | 46 63 2 309 853 |